科研动态 │ 我院汤连生教授在Journal of Hydrology上发表文章:止水帷幕钻孔压水试验的渗透系数确定方法
钻孔压水试验是各类工程中获取介质原位渗透性的常用手段,与室内测试相比,得到的渗透系数更接近真实赋存条件。目前通过钻孔压水试验结果确定渗透系数的方法大部分基于半无限空间计算域,如岩体等介质,在止水帷幕中进行该试验的配套计算方法仍是空白,既有的岩体钻孔压水试验渗透系数确定方法无法准确描述包括地下连续墙止水帷幕在内的非半无限空间域结构的渗透系数,直接套用会导致评估误差。
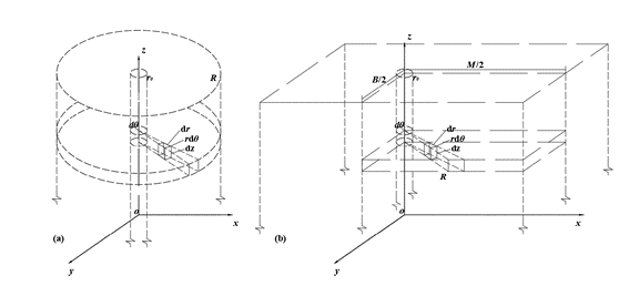
图1. 止水帷幕结构钻孔压水试验: (a) 试验总体示意图;(b) 排桩挡墙形式的止水帷幕钻孔压水试验示意图;(c)地下连续墙形式止水帷幕钻孔压水试验示意图;(d) 试验中的基本参数
我院汤连生教授团队提出了一种利用钻孔压水试验确定止水帷幕原位渗透系数的新方法。基于止水帷幕结构体内渗流场服从Darcy定律的假设,考虑止水帷幕外的地层均质性及其本体的结构形状特征,按钻孔压水试验基本流程方法推导得到不同截面形状的止水帷幕渗透系数的计算公式。只需获得试验的流量、压力及止水帷幕几何参数,可通过公式计算得到对应的渗透系数,另可通过研究团队自行开发的“止水帷幕钻孔压水试验的渗透系数计算软件”(软著登记号:2023SR0979920)快速得到结果。
图2. 计算模型的基本计算单元示意: (a) 排桩形式; (b) 地下连续墙形式
研究结果显示,与既有的存在低估止水帷幕渗透系数等问题的半无限域方法相比,本文提出的计算模型对不同地质条件、结构形式下的止水帷幕钻孔压水试验做出区分,为止水帷幕渗透安全性评估提供了更精确的计算理论,由此解决了行业内难题——止水帷幕钻孔压水渗透性检测方法,汤连生教授团队正对构建止水帷幕透水率—渗透系数比对模式图,提高其在工程实践使用中的便捷性进行后续工作。该方法预编录广东省《地下水钻孔抽水压水与注水试验技术规程》(编制修订中),本研究于2023年9月在国际水文学权威期刊《Journal of Hydrology》(中科院分区一区)上发表,论文信息如下:
Liansheng Tang*, Zihua Cheng, Guangping Li, Yang Chen, Yuxi Wang, 2023. Permeability coefficient of waterproof curtain by borehole packer test, Journal of Hydrology, 625: 130023. DOI: https://doi.org/10.1016/j.jhydrol.2023.130023.
编辑:张琳欣
初审:黄荣
审核:张照
审核发布:何晓钟
